Zum Hauptinhalt springen Zur Suche springen Zur Hauptnavigation springen
Kompetente Fachberatung
Lagernde Ware werktags innerhalb 24 Stunden versandbereit
Über 25.000 Artikel auf Lager
Originale Ersatzteile direkt vom Hersteller

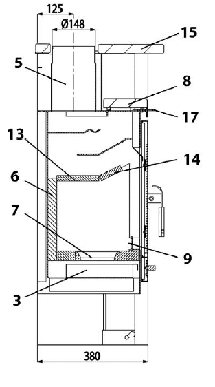
Haas+Sohn Montegrotto II 305.15 Zugumlenkung hinten

Zugumlenkung /  Rauchgasumlenkung / Prallplatte / Rauchumlenkung / Umlenkung / Flammenschild

 

Produktinformationen "Haas+Sohn Montegrotto II 305.15 Zugumlenkung hinten"

Original Zugumlenkung hinten für den Kaminofen Haas-Sohn Montegrotto II 305.15

  • Hier wurde vom Hersteller eine Materialumstellung vorgenommen von Vermiculite zu Schamotte

Haas-Sohn Montegrotto II 305.15 Zugumlenkung hinten Eckdaten:

  • Prallplatte, Flammenschild
  • Maße (B/L/H) 160 mm x 420 mm x 25 mm
  • Material Schamotte
  • Position 13 in der Explosionszeichnung
Eigenschaften "Haas+Sohn Montegrotto II 305.15 Zugumlenkung hinten"
Hersteller: Haas-Sohn
Material: Schamotte
Typ: 305.15
Modell: Montegrotto II
Ersatzteilart: Zugumlenkung

EU-Verantwortlicher

Haas + Sohn Ofentechnik GmbH
Urstein Nord 67
5412 Puch
AT
info@haassohn.com

Ähnliche Artikel

Haas+Sohn Montegrotto II 305.15 Zugumlenkung vorne
Original Zugumlenkung vorne für den Kaminofen Haas-Sohn Montegrotto II 305.15 Haas-Sohn Montegrotto II 305.15 Zugumlenkung vorne Eckdaten: Prallplatte, Flammenschild Maße (B/L/H) 80 mm x 420 mm x 25 mm Material Schamotte Position 14 in der Explosionszeichnung
Produktnummer: 01017409

83,99 €*

Sofort verfügbar, Lieferzeit: 2-4 Tage

Nur 8 auf Lager!
Haas+Sohn Montegrotto II 305.15 Ascherost
Original Ascherost für den Kaminofen Haas-Sohn Montegrotto II 305.15 Haas-Sohn Montegrotto II 305.15 Ascherost Eckdaten: Feuerraumrost, Ofenrost Maße (B/L) 260 mm x 152 mm Material Guss Farbe schwarz Position 7 in der Explosionszeichnung
Produktnummer: 01044919

105,85 €*

Sofort verfügbar, Lieferzeit: 2-4 Tage

Nur 4 auf Lager!
Haas+Sohn Montegrotto II 305.15 Sichtscheibe
Original Sichtscheibe für den Kaminofen Haas-Sohn Montegrotto II 305.15 Haas-Sohn Montegrotto II 305.15 Sichtscheibe Eckdaten: Glasscheibe, Scheibe Maße (B/L/H) 319 mm x 414 mm x 4 mm hitzebeständig Position 12 in der Explosionszeichnung
Produktnummer: 01044921

225,43 €*

Sofort verfügbar, Lieferzeit: 2-4 Tage

Nur 1 auf Lager!
Haas+Sohn Montegrotto II 305.15 Feuerraumauskleidung
Original Feuerraumauskleidung für den Kaminofen Haas-Sohn Montegrotto II 305.15 10-teiliges Set Haas-Sohn Montegrotto II 305.15 Feuerraumauskleidung Eckdaten: Feuerraumauskleidung, Brennraumsteine Material Schamotte Bodenstein vorne (260 x 64 x 30 mm), Bodenstein hinten (260 x 64 x 30 mm) Bodenstein links (64 x 280 x 30 mm), Bodenstein rechts (64 x 280 x 30 mm) Seitenstein links (250 x 330 x 30 mm), Seitenstein rechts (250 x 330 x 30 mm) Rückwandstein links (220 x 280 x 30 mm), Rückwandstein rechts (220 x 280 x 30 mm) Zugumlenkung hinten (420 x 160 x 25 mm), Zugumlenkung vorne (420 x 80 x 25 mm)
Produktnummer: 01044931

571,53 €*

Sofort verfügbar, Lieferzeit: 2-4 Tage

Nur 7 auf Lager!
Haas+Sohn Montegrotto II 305.15 Scheibendichtung
Original Scheibendichtung für den Kaminofen Haas-Sohn Montegrotto II 305.15 Haas-Sohn Montegrotto II 305.15 Scheibendichtung Eckdaten: Glasband, Ofenschnur Maße (B/H) 10 mm x 4 mm Länge 2,00 m selbstklebend
Produktnummer: 01044932

Inhalt: 2 Meter (12,75 €* / 1 Meter)

25,49 €*

Sofort verfügbar, Lieferzeit: 2-4 Tage

Haas+Sohn Montegrotto II 305.15 Türdichtung
Original Türdichtung für den Kaminofen Haas-Sohn Montegrotto II 305.15 Für die Montage wird ein Kleber benötigt. Wir empfehlen Dichtungsabbinder, die das Ausfransen der Enden verhindern. Auch bieten wir eine Dichtungshülse, um die Enden optimal miteinander zu verbinden. Haas-Sohn Montegrotto II 305.15 Türdichtung Eckdaten: Dichtschnur, Ofenschnur Länge 3,00 m Durchmesser 12 mm
Produktnummer: 01044933

Inhalt: 3 Meter (33,02 €* / 1 Meter)

99,07 €*

Sofort verfügbar, Lieferzeit: 2-4 Tage