Wählen Sie Ihr Modell:
-
Aarhus
-
Adelboden
-
Adonis
-
Agrigento
-
Alkor
-
Alpes
-
Alta
-
Ancona
-
Andro
-
Aqua
-
Aquaris
-
Argentum
-
Aruba
-
Ascim
-
Ascoli
-
Askja
-
Aversa
-
Avignon
-
Bali
-
Belaqua
-
Belarius
-
Bergamo
-
Bergen
-
Bernau
-
Bilbao
-
Bornholm
-
Breisgau
-
BSH
-
Calma
-
Cannes
-
Capri
-
Carina
-
Catania
-
Cers
-
Cognac
-
Colmar
-
Compact
-
Dalen
-
DH
-
DK Lausitz
-
Duisburg
-
Eco
-
Ecoline
-
Eifel
-
Elsass
-
Engadin
-
Esprit
-
Exquisit
-
Falun
-
Ficus
-
Franken
-
Fulham
-
Fuego
-
Gastein
-
Genf
-
Genua
-
Göteborg
-
Grado
-
HA
-
Hamar
-
Harstad
-
Harz
-
Hasvik
-
Herborn
-
Hillington
-
HKI
-
HKZ
-
HSD
-
HSDB
-
HSP
-
HSZ
-
Husum
-
I 2020
-
I 2060
-
I 2100
-
I 3020
-
Ibiza
-
Imatra
-
Inzell
-
Isola
-
Java
-
Javus
-
Jura
-
Kalius
-
Kensington
-
Kerpen
-
Kiruna
-
Komfort
-
Kopenhagen
-
Kufstein
-
Kuopio
-
Lahti
-
Leon
-
Levi
-
Lille
-
Lillehammer
-
Linz
-
London
-
Lucca
-
Lund
-
Lyon
-
Magyar
-
Megeve
-
Merida
-
Milano
-
Millenium
-
Modena
-
Moers
-
Molde
-
Montegrotto
-
Naxos
-
Nordal
-
Nordland
-
Nyland
-
Odense
-
Olbia
-
Opus
-
Oristano
-
Orsted
-
Palermo
-
Pallazza
-
Palma
-
Panorama
-
Pelletto
-
Pico
-
Pinus
-
Potsdam
-
Prestige
-
Provence
-
Prunus
-
Pyrus
-
RHO
-
Rhone
-
Riga
-
Roma
-
Rosenheim
-
Rubus
-
Salzburg
-
Sara
-
Sestriere
-
Siena
-
Stockholm
-
Stolberg
-
Storberg
-
Tallinn
-
Tampere
-
Taunus
-
Thira
-
Tonstad
-
Trend
-
Trento
-
Treviso
-
Trient
-
Trondheim
-
Turin
-
Uppsala
-
Vaasa
-
Varde
-
Varese
-
Velten
-
Vercellio
-
Verona
-
Vestre
-
Vicenza
-
Viking
-
Vilnius
-
Vision
-
Viterbo 3
-
Vitorre
-
Warburg
-
Westminster
-
Wien
-
Würzburg
-
Xi
-
Ystad
-
Zeta
-
Ziller
-
Zürich
-
Ascheroste
-
Brennraumsteine
-
Dichtungen
-
Einzelsteine
-
Sichtscheiben
-
Zugumlenkung
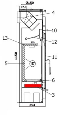
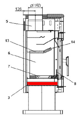
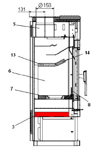
Originale Ersatzteile für Haas+Sohn Kaminofen
Sorgen Sie für die optimale Funktion Ihres Haas+Sohn Kaminofens mit originalen Ersatzteilen. Ob Dichtungen, Kaminscheiben , einzelne Schamottsteine oder ganze Feuerraumauskleidungen – unsere Ersatzteile sind original direkt vom Hersteller und damit passgenau für Ihr Modell.
Sie brauchen Hilfe?
Wenn Sie Ihr gewünschtes Ersatzteil nicht finden können oder sich nicht sicher sind, welche Komponente Sie benötigen, stehen wir Ihnen gerne zur Verfügung:
Wählen Sie hier Ihr Modell und Ihr Ersatzteil aus:
Sofort verfügbar, Lieferzeit: 2-4 Tage
Lieferzeit ca. 2-3 Wochen
nicht mehr verfügbar, Produktion eingestellt
nicht mehr verfügbar, Produktion eingestellt
Sofort verfügbar, Lieferzeit: 2-4 Tage
Lieferzeit ca. 2-3 Wochen
Lieferzeit ca. 2-3 Wochen
Lieferzeit ca. 2-3 Wochen
nicht mehr verfügbar, Produktion eingestellt
Lieferzeit ca. 2-3 Wochen
Lieferzeit ca. 2-3 Wochen
Lieferzeit ca. 2-3 Wochen
Lieferzeit ca. 2-3 Wochen
Lieferzeit ca. 2-3 Wochen
Lieferzeit ca. 2-3 Wochen
Lieferzeit ca. 2-3 Wochen
Lieferzeit ca. 2-3 Wochen
Lieferzeit ca. 2-3 Wochen
Lieferzeit ca. 2-3 Wochen
Lieferzeit ca. 2-3 Wochen
Sofort verfügbar, Lieferzeit: 2-4 Tage
Lieferzeit ca. 2-3 Wochen
Sofort verfügbar, Lieferzeit: 2-4 Tage
Lieferzeit ca. 2-3 Wochen