Zum Hauptinhalt springen Zur Suche springen Zur Hauptnavigation springen
Kompetente Fachberatung
Lagernde Ware werktags innerhalb 24 Stunden versandbereit
Über 25.000 Artikel auf Lager
Originale Ersatzteile direkt vom Hersteller

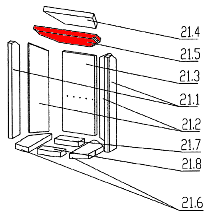
Oranier Pori 5 Zugumlenkung unten A

Zugumlenkung /  Rauchgasumlenkung / Prallplatte / Rauchumlenkung / Umlenkung / Flammenschild

 

Produktinformationen "Oranier Pori 5 Zugumlenkung unten A"

Original Zugumlenkung unten A für den Kaminofen Oranier Pori 5

  • Es gibt verschiedene Ausmauerungen für dieses Modell. Bitte orientieren Sie sich an den Maßen der Feuerraumsteine.
  • Dieser Brennraumstein befindet sich erfahrungsgemäß im Feuerraum, dessen markante Merkmale folgende Steine sind: Bodenstein vorne (134 x 51 x 30 mm), Bodenstein links (93 x 157/267 x 30 mm), Seitenstein links vorne (86 x 450/480 x 25 mm)

Oranier Pori 5 Zugumlenkung unten Eckdaten:

  • Rauchumlenkung, Flammenschild
  • Maße (B/L/H) 350 mm x 159 mm x 25 mm
  • Material Vermiculite
  • Position 21.5 in der Explosionszeichnung
Eigenschaften "Oranier Pori 5 Zugumlenkung unten A"
Hersteller: Oranier
Material: Vermiculite
Typ: 5
Modell: Pori
Ersatzteilart: Zugumlenkung

EU-Verantwortlicher

Oranier Heiztechnik GmbH
Oranier Straße 1
35708 Haiger
DE
info@oranier.com

Hersteller

Oranier


DE

Ähnliche Artikel

Oranier Pori 5 Sichtscheibe A
Original Sichtscheibe A für den Kaminofen Oranier Pori 5 Es gibt verschiedene Sichtscheiben für den Pori 5. Bitte orientieren Sie sich an den Maßen der Sichtscheibe und der Verriegelung Ihres Kamins. passend für das Modell mit einer Einpunktverriegelung (Tür schließt an einem Punkt am Korpus) Oranier Pori 5 Sichtscheibe Eckdaten: Glasscheibe, Schauglas Maße (B/L/H) 315 mm x 405 mm x 4 mm Material Glas Form rechteckig hitzebeständig
Produktnummer: 01001396

122,54 €*¹

Sofort verfügbar, Lieferzeit: 2-4 Tage

Oranier Pori 5 Zugumlenkung oben A
Original Zugumlenkung oben A für den Kaminofen Oranier Pori 5 Typ 4671 Es gibt verschiedene Ausmauerungen für dieses Modell. Bitte orientieren Sie sich an den Maßen der Feuerraumsteine. Dieser Brennraumstein befindet sich erfahrungsgemäß im Feuerraum, dessen markante Merkmale folgende Steine sind: Bodenstein vorne (134x51x30 mm), Bodenstein links (93 x 157/267 x 30 mm), Seitenstein links vorne (86 x 450/480 x 25 mm) Oranier Pori 5 Typ 4671 Zugumlenkung oben Eckdaten: Prallplatte, Umlenkung Maße (B/L/H) 280 mm x 170 mm x 25 mm Material Vermiculite Position 21.4 in der Explosionszeichnung
Produktnummer: 01016116

43,94 €*¹

Sofort verfügbar, Lieferzeit: 2-4 Tage

Oranier Pori 5 Ascherost A
Original Ascherost für den Kaminofen Oranier Pori 5 Bitte gleichen Sie vorab die Maße ab Oranier Pori 5 Ascherost Eckdaten: Feuerrost, Brennofenrost Maße (B/L/H) 135 mm x 135 mm x 30 mm Material Guss
Produktnummer: 01016600

49,60 €*¹

Sofort verfügbar, Lieferzeit: 2-4 Tage

Oranier Pori 5 Türdichtung A
Türdichtung A für den Kaminofen Oranier Pori 5 Achtung, für diesen Kaminofen gibt es verschiedene Türdichtungen. Bitte orientieren Sie sich an Ihrer verbauten Dichtschnur. (Flachkordeldichtung/Hohlkordeldichtung) Wir empfehlen einen Kleber und zusätzlich Dichtungsabbinder, die das Ausfransen der Enden verhindern. Oranier Pori 5 Türdichtung Eckdaten: Türband, Dichtschnur Kordeldichtung Maße (B/H) 10 mm x 6 mm Länge 3,00 m
Produktnummer: 01018805

Inhalt: 3 Meter (9,53 €*¹ / 1 Meter)

28,60 €*¹

Sofort verfügbar, Lieferzeit: 2-4 Tage

Nur 2 auf Lager!
Oranier Pori 5 Feuerraumauskleidung A
Original Feuerraumauskleidung A für den Kaminofen Oranier Pori 5 Typ 4671 Es gibt verschiedene Ausmauerungen für dieses Modell. Bitte orientieren Sie sich an den Maßen der Brennraumsteine. Markantes Merkmal dieser Feuerraumauskleidung ist die Kombination folgender Steine: Bodenstein vorne (134 x 51 x 30 mm), Bodenstein links (93 x 157/267 x 30 mm), Seitenstein links vorne (86 x 450/480 x 25 mm) 11-teiliges Set Oranier Pori 5 Typ 4671 Feuerraumauskleidung Eckdaten: Oranier Pori 5 Typ 4671 Feuerraumsteine Eckdaten: 11 Stück Feuerraumauskleidung, Brennraumsteine Material Vermiculite  Bodenstein vorne (134 x 51 x 30 mm), Bodenstein hinten (69 x 135 x 30 mm) Bodenstein rechts (93 x 157/267 x 30 mm), Bodenstein links (93 x 157/267 x 30 mm) Seitenstein links vorne (86 x 450/480 x 25 mm), Seitenstein links hinten (102 x 404/450 x 25 mm) Seitenstein rechts vorne (86 x 450/480 x 25 mm), Seitenstein rechts hinten (102 x 404/450 x 25 mm) 5-fach gelochter Rückwandstein (195 x 402 x 25 mm)  Zugumlenkung oben (175/280 x 170 x 25 mm), Zugumlenkung unten (159 x 350 x 25 mm)
Produktnummer: 01019686

283,52 €*¹

Sofort verfügbar, Lieferzeit: 2-4 Tage

Oranier Pori 5 Scheibendichtung A
Scheibendichtung A für den Kaminofen Oranier Pori 5 passend für das Modell mit einer Einpunktverriegelung (Tür schließt an einem Punkt am Korpus) Oranier Pori 5 Scheibendichtung Eckdaten: 2-teilig Profildichtung, seitlich/unten Maße 10x2 mm Länge 2 m selbstklebend Positionen 1.3 in der Explosionszeichnung Flachdichtung, oben Maße 17x2 mm Länge 1 m selbstklebend Position 1.4 in der Explosionszeichnung
Produktnummer: 01023101

Inhalt: 3 Meter (8,75 €*¹ / 1 Meter)

26,24 €*¹

Sofort verfügbar, Lieferzeit: 2-4 Tage