Zum Hauptinhalt springen Zur Suche springen Zur Hauptnavigation springen
Kompetente Fachberatung
Lagernde Ware werktags innerhalb 24 Stunden versandbereit
Über 25.000 Artikel auf Lager
Originale Ersatzteile direkt vom Hersteller

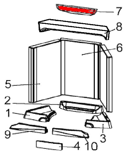
Austroflamm Lounge Xtra Zugumlenkung oben

Zugumlenkung /  Rauchgasumlenkung / Prallplatte / Rauchumlenkung / Umlenkung / Flammenschild

 

Produktinformationen "Austroflamm Lounge Xtra Zugumlenkung oben"

Original Zugumlenkung oben für den Kaminofen Austroflamm Lounge Xtra

Austroflamm Lounge Xtra Zugumlenkung oben Eckdaten:

  • Rauchgasumlenkung, Rauchumlenkung
  • Maße (B/L/H) 175 mm x 357 mm x 48 mm
  • Material Keramott
  • Position 7 in der Explosionszeichnung
Eigenschaften "Austroflamm Lounge Xtra Zugumlenkung oben"
Hersteller: Austroflamm
Material: Keramott
Typ: Xtra
Modell: Lounge
Ersatzteilart: Zugumlenkung

EU-Verantwortlicher

Austroflamm GmbH
Austroflamm-Platz 1
4631 Krenglbach
AT
info@austroflamm.com

Zubehör

Nur 8 auf Lager!
Austroflamm Lounge Xtra Zugumlenkung unten
Original Zugumlenkung unten für den Kaminofen Austroflamm Lounge Xtra Austroflamm Lounge Xtra Zugumlenkung unten Eckdaten: Prallplatte, Umlenkung Maße (B/L/H) 104 mm x 619 mm x 57 mm Material Keramott Position 8 in der Explosionszeichnung
Produktnummer: 01026279

88,46 €*

Sofort verfügbar, Lieferzeit: 2-4 Tage

Ähnliche Artikel

Nur 1 auf Lager!
Austroflamm Lounge Xtra Ascherost
Original Ascherost für den Kaminofen Austroflamm Lounge Xtra Austroflamm Lounge Xtra Ascherost Eckdaten: Brennraumrost, Brennofenrost Maße (B/L/H) 224 mm x 200 mm x 10 mm Material Guss
Produktnummer: 01021360

63,18 €*

Sofort verfügbar, Lieferzeit: 2-4 Tage

Austroflamm Lounge Xtra Feuerraumauskleidung
Original Feuerraumauskleidung für den Kaminofen Austroflamm Lounge Xtra 11-teiliges Set Austroflamm Lounge Xtra Feuerraumauskleidung Eckdaten: 11 Stück Feuerraumsteine, Brennraumsteine Material Keramott Seitenstein links vorne (150 x 457/497 x 30 mm), Seitenstein rechts vorne (150 x 457/497 x 30 mm) Seitenstein links hinten (150 x 457/497 x 30 mm), Seitenstein rechts hinten (150 x 457/497 x 30 mm) Rückwandstein links (150 x 359 x 30 mm), Rückwandstein rechts (150 x 359 x 30 mm) Bodenstein vorne (210/276 x 94 x 115 mm), Bodenstein hinten (237/294 x 74 x 30 mm) Bodenstein links (76 x 158/308 x 30 mm), Bodenstein rechts (76 x 158/308 x 30 mm) Zugumlenkung (273/314 x 309 x 55 mm)
Produktnummer: 01022420

661,87 €*

Lieferzeit ca. 2-3 Wochen

Austroflamm Lounge Xtra Sichtscheibe innen
Original Sichtscheibe innen für den Kaminofen Austroflamm Lounge Xtra Dies ist die innere Glasscheibe Austroflamm Lounge Xtra Sichtscheibe innen Eckdaten: Glaskeramik, Glas Maße (B/L/H) 685 mm x 505 mm x 4 mm Material Glas Form flach hitzebeständig
Produktnummer: 01039867

434,40 €*

Lieferzeit ca. 2-3 Wochen

Austroflamm Lounge Xtra Türdichtung
Türdichtung für den Kaminofen Austroflamm Lounge Xtra Wir empfehlen einen feuerfesten Kleber, der durch punktuelles Auftragen, die Montage erleichtern kann. Auch bieten wir zusätzliche Abbinder, die das Ausfransen verhindern. Austroflamm Lounge Xtra Türdichtung Eckdaten: Ofenschnur, Holzofenschnur Flachdichtung Maße (B/H) 17 mm x 8 mm Länge 3,00 m Position 17 in der Explosionszeichnung
Produktnummer: 01041785

Inhalt: 3 Meter (28,20 €* / 1 Meter)

84,59 €*

Sofort verfügbar, Lieferzeit: 2-4 Tage