Zum Hauptinhalt springen Zur Suche springen Zur Hauptnavigation springen
Kompetente Fachberatung
Lagernde Ware werktags innerhalb 24 Stunden versandbereit
Über 25.000 Artikel auf Lager
Originale Ersatzteile direkt vom Hersteller

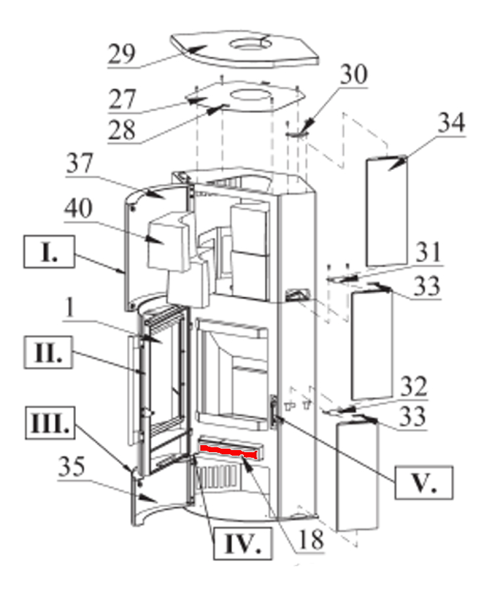
Fireplace Adelaide Aschekasten

Aschekasten /  Aschelade / Ascheschublade / Aschebox / Aschetresor / Auffangbehälter

 

Original Aschekasten für den Kaminofen Fireplace Adelaide

Fireplace Adelaide Aschekasten Eckdaten:

  • Aschebox, Aschetresor
  • Maße (B/L/H) 290 mm x 248 mm x 55 mm
  • Position 18 in der Explosionszeichnung
Eigenschaften "Fireplace Adelaide Aschekasten"
Hersteller: Fireplace
Modell: Adelaide
Ersatzteilart: Aschekasten

EU-Verantwortlicher

Fireplace Kft.
Vértanúk tere 4
2800 Tatabánya
HU
info@fireplace.de

Ähnliche Artikel

Fireplace Adelaide Sichtscheibe
Original Sichtscheibe für den Kaminofen Fireplace Adelaide K5694 Fireplace Adelaide K5694 Sichtscheibe Eckdaten: Glas, Schauglas Material Glas Form gerade
Produktnummer: 01005498

351,91 €*¹

Lieferzeit ca. 2-3 Wochen

Fireplace Adelaide Ascherost
Original Ascherost für den Kaminofen Fireplace Adelaide Fireplace Adelaide Ascherost Eckdaten: Kaminrost, Feuerrost Maße (B/L/H) 393 mm x 246 mm x 30 mm Material Guss
Produktnummer: 01022933

138,11 €*¹

Lieferzeit ca. 2-3 Wochen

Nur 4 auf Lager!
Fireplace Adelaide Feuerraumauskleidung A
Original Feuerraumauskleidung A für den Kaminofen Fireplace Adelaide K5694 Der Hersteller hat die frühere 2-teilige Rückwand optimiert und durch einen 1-teiligen Rückwandstein ersetzt. Passend für Modelle wo sich die Lüftungslöcher oben befinden. 6-teiliges Set Fireplace Adelaide K5694 Feuerraumauskleidung Eckdaten: 6 Stück Feuerraumauskleidung, Brennraumsteine Material Vermiculite Seitenstein links vorne (120 x 305/430 x 25 mm), Seitenstein rechts vorne (120 x 305/430 x 25 mm) Seitenstein links hinten (70 x 299 x 25 mm), Seitenstein rechts hinten (70 x 299 x 25 mm) Rückwandstein (270/285 x 252 x 25 mm) Zugumlenkung unten (369 x 246 x 25 mm)
Produktnummer: 01023765

197,56 €*¹

Sofort verfügbar, Lieferzeit: 2-4 Tage

Fireplace Adelaide Türdichtung
Türdichtung für den Kaminofen Fireplace Adelaide Für die Montage wird ein Kleber benötigt. Auch empfehlen wir Dichtungsabbinder, damit die Dichtschnur-Enden nicht ausfransen. Zum Verbinden der Enden bieten wir zusätzliche Dichtungshülsen. Fireplace Adelaide Türdichtung Eckdaten: Türband, Dichtung Kordeldichtung Länge 2,50 m Durchmesser 9 mm
Produktnummer: 01024259

Inhalt: 2.5 Meter (17,12 €*¹ / 1 Meter)

42,80 €*¹

Sofort verfügbar, Lieferzeit: 2-4 Tage