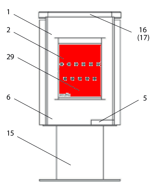
Originale Ersatzteile für Kaminofen Modell Sichtscheiben
Hier finden Sie Ersatzteile für Ihr Kaminofen Modell Sichtscheiben. Egal ob Dichtungen, Glasscheiben oder Schamottsteine – wir haben die passenden Komponenten für Ihren Ofen. Falls Sie Fragen zu den Ersatzteilen haben, steht Ihnen unser kompetentes Team jederzeit zur Verfügung. Vertrauen Sie auf Qualität und Beratung für einen reibungslosen Betrieb Ihres Kaminofens.
Sie brauchen Hilfe?
Wenn Sie Ihr gewünschtes Ersatzteil nicht finden können oder sich nicht sicher sind, welche Komponente Sie benötigen, stehen wir Ihnen gerne zur Verfügung:
Wählen Sie das gesuchte Ersatzteil aus der Liste:
Lieferzeit ca. 2-3 Wochen
Lieferzeit ca. 2-3 Wochen
nicht mehr verfügbar, Produktion eingestellt
Lieferzeit ca. 2-3 Wochen
nicht mehr verfügbar, Produktion eingestellt
Lieferzeit ca. 2-3 Wochen
Lieferzeit ca. 2-3 Wochen
nicht mehr verfügbar, Produktion eingestellt
Lieferzeit ca. 2-3 Wochen
nicht mehr verfügbar, Produktion eingestellt
Lieferzeit ca. 2-3 Wochen
Lieferzeit ca. 2-3 Wochen
nicht mehr verfügbar, Produktion eingestellt
nicht mehr verfügbar, Produktion eingestellt
nicht mehr verfügbar, Produktion eingestellt
Sofort verfügbar, Lieferzeit: 2-4 Tage
Sofort verfügbar, Lieferzeit: 2-4 Tage
Sofort verfügbar, Lieferzeit: 2-4 Tage
Sofort verfügbar, Lieferzeit: 2-4 Tage
Lieferzeit ca. 2-3 Wochen
nicht mehr verfügbar, Produktion eingestellt
Lieferzeit ca. 2-3 Wochen
nicht mehr verfügbar, Produktion eingestellt
nicht mehr verfügbar, Produktion eingestellt