Zum Hauptinhalt springen Zur Suche springen Zur Hauptnavigation springen
Kompetente Fachberatung
Lagernde Ware werktags innerhalb 24 Stunden versandbereit
Über 25.000 Artikel auf Lager
Originale Ersatzteile direkt vom Hersteller

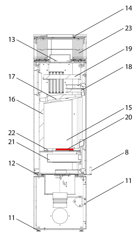
Wodtke KK 95-1 Seitenstein links

Seitenstein /  Brennraumstein / Feuerraumstein / Kaminofenstein / Brennofenstein / Ofenstein / Holzofenstein

 

Produktinformationen "Wodtke KK 95-1 Seitenstein links"

Original Seitenstein links für den Kaminofen Wodtke KK 95-1

Wodtke KK 95-1 Seitenstein links Eckdaten:

  • Brennraumstein, Kaminofenstein
  • Schamottstein
  • Maße (B/L/H) 215 mm x 334/364 mm x 30 mm
  • Material Schamotte
  • Position 16 in der Explosionszeichnung
Eigenschaften "Wodtke KK 95-1 Seitenstein links"
Hersteller: Wodtke
Material: Schamotte
Typ: 95-1
Modell: KK
Ersatzteilart: Seitenstein

EU-Verantwortlicher

wodtke GmbH
Rittweg 55 - 57
D-72070 Tübingen-Hirschau
DE
info@wodtke.com

Ähnliche Artikel

Wodtke KK 95-1 Türdichtung
Türdichtung für den Kaminofen Wodtke KK 95-1 Für diese Kordeldichtung empfehlen wir einen Dichtungskleber. Für diese Dichtung empfehlen wir Dichtungsabbinder, damit die Enden nicht ausfransen. Wodtke KK 95-1 Türdichtung Eckdaten: Dichtung, Holzofenschnur Kordeldichtung Länge 2,00 m Durchmesser 14 mm
Produktnummer: 01035826

79,91 €*¹

Sofort verfügbar, Lieferzeit: 2-4 Tage

Wodtke KK 95-1 Ascherost
Original Ascherost für den Kaminofen Wodtke KK 95-1 Wodtke KK 95-1 Ascherost Eckdaten: Gussrost, Feuerrost Material Guss Position 20 in der Explosionszeichnung
Produktnummer: 01037027

247,49 €*¹

Lieferzeit ca. 2-3 Wochen

Wodtke KK 95-1 Sichtscheibe
Original Sichtscheibe für den Kaminofen Wodtke KK 95-1 Wodtke KK 95-1 Sichtscheibe Eckdaten: Glas, Scheibe Maße (B/L/H) 425 mm x 705 mm x 4 mm Bogenlänge 600 mm Material Glas Form abgewinkelt hitzebeständig 90° abgewinkelt Position 2 in der Explosionszeichnung
Produktnummer: 01037231

1.819,21 €*¹

Lieferzeit ca. 2-3 Wochen

Wodtke KK 95-1 Zugumlenkung unten
Original Zugumlenkung unten für den Kaminofen Wodtke KK 95-1 Wodtke KK 95-1 Zugumlenkung unten Eckdaten: Rauchgasumlenkung, Umlenkung Maße (B/L/H) 280 mm x 280 mm x 30 mm Material Vermiculite Position 17 in der Explosionszeichnung
Produktnummer: 01037408

99,54 €*¹

Lieferzeit ca. 2-3 Wochen

Nur 2 auf Lager!
Wodtke KK 95-1 Scheibendichtung
Scheibendichtung für den Kaminofen Wodtke KK 95-1 3-teiliges Set Wodtke KK 95-1 Scheibendichtung Eckdaten: Glasdichtung, Dichtschnur Kordeldichtung Länge 6 m Durchmesser 6 mm Kleber 2 Stück Inhalt je Tube 17 mm
Produktnummer: 01039915

76,83 €*¹

Sofort verfügbar, Lieferzeit: 2-4 Tage