Zum Hauptinhalt springen Zur Suche springen Zur Hauptnavigation springen
Kompetente Fachberatung
Lagernde Ware werktags innerhalb 24 Stunden versandbereit
Über 25.000 Artikel auf Lager
Originale Ersatzteile direkt vom Hersteller

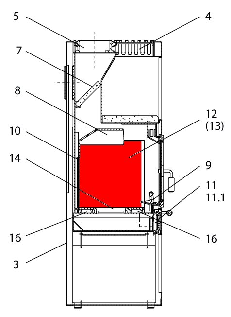
Wodtke KK 01.9 Seitenplatte links

Seitenplatte /  Gussplatte / Feuerraumplatte / Brennraumplatte

 

Produktinformationen "Wodtke KK 01.9 Seitenplatte links"

Original Seitenplatte links für den Kaminofen Wodtke KK 01.9

Wodtke KK 01.9 Seitenplatte links Eckdaten:

  • Gussplatte, Feuerraumplatte
  • Maße (B/L/H) 315 mm x 296 mm x 15 mm
  • Material Guss
  • Position 13 in der Explosionszeichnung
Eigenschaften "Wodtke KK 01.9 Seitenplatte links"
Hersteller: Wodtke
Material: Guss
Typ: 01.9
Modell: KK
Ersatzteilart: Seitenplatte

EU-Verantwortlicher

wodtke GmbH
Rittweg 55 - 57
D-72070 Tübingen-Hirschau
DE
info@wodtke.com

Ähnliche Artikel

Wodtke KK 01.9 Türdichtung
Türdichtung für den Kaminofen Wodtke KK 01.9 Wir empfehlen einen Kleber für die Montage, der durch punktuelles Auftragen, unterstützend wirken kann. Auch empfehlen wir Dichtungsabbinder, damit die Dichtschnur-Enden nicht ausfransen. Als optisches Highlight bieten wir ebenfalls Dichtungshülsen an. Wodtke KK 01.9 Türdichtung Eckdaten: Dichtschnur, Holzofenschnur Kordeldichtung Länge 3,00 m Durchmesser 10 mm
Produktnummer: 01035707

50,23 €*

Sofort verfügbar, Lieferzeit: 2-4 Tage

Nur 2 auf Lager!
Wodtke KK 01.9 Ascherost
Original Ascherost für den Kaminofen Wodtke KK 01.9 Wodtke KK 01.9 Ascherost Eckdaten: Kaminrost, Brennraumrost Maße (B/L/H) 150 mm x 210 mm x 30 mm Stärke 15 mm Material Guss Form rechteckig Position 14 in der Explosionszeichnung
Produktnummer: 01037217

109,13 €*

Sofort verfügbar, Lieferzeit: 2-4 Tage

Ausverkauft
Wodtke KK 01.9 Sichtscheibe
Original Sichtscheibe für den Kaminofen Wodtke KK 01.9 Der Hersteller hat die Produktion dieses Artikels eingestellt. Sofern wir über einen Restbestand verfügen, ist dieses Ersatzteil bei uns erhältlich Wodtke KK 01.9 Sichtscheibe Eckdaten: Ofenglas, Schauglas Maße (B/L/H) 455 mm x 270 mm x 4 mm Material Glas Form flach hitzebeständig mit einer halbrunden Aussparung
Produktnummer: 01037274

371,01 €*

nicht mehr verfügbar, Produktion eingestellt

Ausverkauft
Wodtke KK 01.9 Zugumlenkung unten
Original Zugumlenkung unten für den Kaminofen Wodtke KK 01.9 Der Hersteller hat die Produktion dieses Artikels eingestellt. Sofern wir über einen Restbestand verfügen, ist dieses Ersatzteil bei uns erhältlich Wodtke KK 01.9 Zugumlenkung unten Eckdaten: Rauchgasumlenkung, Flammenschild Maße (B/L/H) 470 mm x 195 mm x 125 mm Stärke 6 mm Material Stahl Position 8 in der Explosionszeichnung
Produktnummer: 01037531

181,05 €*

nicht mehr verfügbar, Produktion eingestellt

Wodtke KK 01.9 Scheibendichtung Set
Scheibendichtung Set für den Kaminofen Wodtke KK 01.9 3-teiliges Set Wodtke KK 01.9 Scheibendichtung Eckdaten: Kordeldichtung (zwischen Sichtscheibe und Tür) Länge 3 m Durchmesser 6 mm Flachdichtung (zwischen Sichtscheibe und Scheibenhalter) Länge 3 m Maße 8x2 mm selbstklebend Kleber Inhalt 17 ml
Produktnummer: 01039962

68,27 €*

Lieferzeit ca. 2-3 Wochen