Zum Hauptinhalt springen Zur Suche springen Zur Hauptnavigation springen
Kompetente Fachberatung
Lagernde Ware werktags innerhalb 24 Stunden versandbereit
Über 25.000 Artikel auf Lager
Originale Ersatzteile direkt vom Hersteller

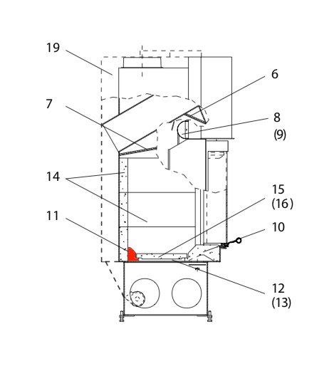
Wodtke HK 04 Bodenstein hinten

Bodenstein /  Brennraumstein / Feuerraumstein

 

Produktinformationen "Wodtke HK 04 Bodenstein hinten"

Original Bodenstein hinten für den Heizeinsatz Wodtke HK 04

  • Der Hersteller hat die Produktion dieses Artikels eingestellt. Sofern wir über einen Restbestand verfügen, ist dieses Ersatzteil bei uns erhältlich

Wodtke HK 04 Bodenstein hinten Eckdaten:

  • Brennraumstein, Feuerraumstein
  • Maße (B/L/H) 345 mm x 45 mm x 65 mm
  • Material Schamotte
  • Position 11 in der Explosionszeichnung
Eigenschaften "Wodtke HK 04 Bodenstein hinten"
Hersteller: Wodtke
Material: Schamotte
Typ: 04
Modell: HK
Ersatzteilart: Bodenstein

EU-Verantwortlicher

wodtke GmbH
Rittweg 55 - 57
D-72070 Tübingen-Hirschau
DE
info@wodtke.com

Ähnliche Artikel

Ausverkauft
Wodtke HK 04 Zugumlenkung unten
Original Zugumlenkung unten für den Kaminofen Wodtke HK 04 Der Hersteller hat die Produktion dieses Artikels eingestellt. Sofern wir über einen Restbestand verfügen, ist dieses Ersatzteil bei uns erhältlich Wodtke HK 04 Zugumlenkung unten Eckdaten: Rauchgasumlenkung, Prallplatte Position 7 in der Explosionszeichnung
Produktnummer: 01008471

122,83 €*

nicht mehr verfügbar, Produktion eingestellt

Nur 6 auf Lager!
Wodtke HK 04 Ascherost
Original Ascherost für den Kaminofen Wodtke HK 04 Wodtke HK 04 Ascherost Eckdaten: Brennraumrost, Ofenrost Maße (B/L/H) 270 mm x 243 mm x 15 mm Material Guss
Produktnummer: 01036994

166,90 €*

Sofort verfügbar, Lieferzeit: 2-4 Tage

Wodtke HK 04 Feuerraumauskleidung
Original Feuerraumauskleidung für den Heizeinsatz Wodtke HK 04 11-teiliges Set Wodtke HK 04 Feuerraumauskleidung Eckdaten: Feuerraumsteine, Brennraumsteine Material Schamotte Bodenstein rechts (110 x 245 x 40 mm) Bodenstein mittig (240 x 265 x 25 mm) Seitenstein links unten (355 x 165 x 38 mm), Seitenstein rechts unten (355 x 165 x 38 mm) Seitenstein links mittig (355 x 165 x 38 mm), Seitenstein rechts mittig (355 x 165 x 38 mm) Seitenstein links oben (355 x 165 x 38 mm), Seitenstein rechts oben (355 x 165 x 38 mm) Rückwandstein unten (355 x 165 x 38 mm), Rückwandstein mittig (355 x 165 x 38 mm) Rückwandstein oben (355 x 165 x 38 mm) Produktion eingestellt Bodenstein vorne, Bodenstein links, Bodenstein hinten
Produktnummer: 01037987

919,19 €*

Lieferzeit ca. 2-3 Wochen