Zum Hauptinhalt springen Zur Suche springen Zur Hauptnavigation springen
Kompetente Fachberatung
Lagernde Ware werktags innerhalb 24 Stunden versandbereit
Über 25.000 Artikel auf Lager
Originale Ersatzteile direkt vom Hersteller

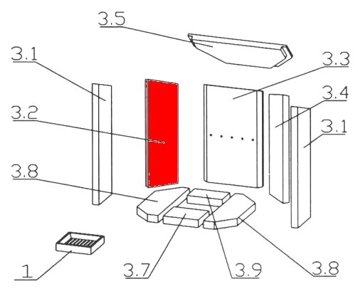
Justus P50-5 Seitenstein links hinten A

Seitenstein /  Brennraumstein / Feuerraumstein / Kaminofenstein / Brennofenstein / Ofenstein / Holzofenstein

 

Produktinformationen "Justus P50-5 Seitenstein links hinten A"

Original Seitenstein links hinten A für den Kaminofen Justus P50-5

  • Markantes Merkmal der dazugehörigen Ausmauerung ist der Bodenstein vorne (135 x 65 x 30 mm) in Kombination mit dem Bodenstein links (90 x 135/270 x 30 mm) und der Zugumlenkung (180/352 x 148 x 25 mm)

Justus P50-5 Seitenstein links hinten Eckdaten:

  • Feuerraumstein, Kaminofenstein
  • Vermiculitesteine
  • Maße (B/L/H) 105 mm x 445 mm x 25 mm
  • Material Vermiculite
  • Position 3.2 in der Explosionszeichnung
Eigenschaften "Justus P50-5 Seitenstein links hinten A"
Hersteller: Justus
Material: Vermiculite
Modell: P50-5
Ersatzteilart: Seitenstein

EU-Verantwortlicher

Justus GmbH
Sechsheldener Straße 122
35708 Haiger-Sechshelden
DE
info@justus.de

Ähnliche Artikel

Ausverkauft
Justus P50-5 Sichtscheibe mittig A
Original Sichtscheibe mittig A für den Kaminofen Justus P50-5 Der Hersteller hat die Produktion dieses Artikels eingestellt. Sofern wir über einen Restbestand verfügen, ist dieses Ersatzteil bei uns erhältlich Es gibt verschiedene Sichtscheiben für den P50-5 Bitte orientieren Sie sich an den Maßen passend für Modelle mit einer Einpunktverriegelung (Tür schließt an einem Punkt am Korpus) Justus P50-5 Sichtscheibe mittig Eckdaten: Kaminglas, Türglas Maße (B/L/H) 211 mm x 450 mm x 4 mm Material Glas Form rechteckig hitzebeständig
Produktnummer: 01000880

83,24 €*¹

nicht mehr verfügbar, Produktion eingestellt

Nur 2 auf Lager!
Justus P50-5 Sichtscheibe links A
Original Sichtscheibe links A für den Kaminofen Justus P50-5 Es gibt verschiedene Sichtscheiben für den P50-5. Bitte orientieren Sie sich an den Maßen. passend für Modelle mit einer Einpunktverriegelung (Tür schließt an einem Punkt am Korpus) Justus P50-5 Sichtscheibe links Eckdaten: Holzofenglas, Türglas Maße (B/L/H) 95 mm x 450 mm x 4 mm Material Glas Form rechteckig hitzebeständig
Produktnummer: 01001014

65,40 €*¹

Sofort verfügbar, Lieferzeit: 2-4 Tage

Nur 7 auf Lager!
Justus P50-5 Zugumlenkung A
Original Zugumlenkung A für den Kaminofen Justus P50-5 Es gibt verschiedene Auskleidungen für den P50-5. Bitte orientieren Sie sich an den Maßen der Brennraumsteine. markantes Merkmal der dazugehörigen Ausmauerung ist der Bodenstein vorne (135x65x30 mm) in Kombination mit dem Bodenstein links (90x270/135x30 mm) und der Zugumlenkung (180/352x148x25 mm) Justus P50-5 Zugumlenkung Eckdaten: Rauchumlenkung, Flammenschild Maße (B/L/H) 352 mm x 148 mm x 25 mm Material Vermiculite Position 3.5 in der Explosionszeichnung
Produktnummer: 01001713

35,07 €*¹

Sofort verfügbar, Lieferzeit: 2-4 Tage

Justus P50-5 Ascherost
Original Ascherost für den Kaminofen Justus P50-5 Justus P50-5 Ascherost Eckdaten: Gussrost, Rostgitter Maße (B/L/H) 135 mm x 135 mm x 30 mm Material Guss
Produktnummer: 01016283

65,23 €*¹

Sofort verfügbar, Lieferzeit: 2-4 Tage

Nur 2 auf Lager!
Justus P50-5 Sichtscheibe rechts A
Original Sichtscheibe rechts A für den Kaminofen Justus P50-5 Es gibt verschiedene Sichtscheiben für den P50-5. Bitte orientieren Sie sich an den Maßen. passend für Modelle mit einer Einpunktverriegelung (Tür schließt an einem Punkt am Korpus). Justus P50-5 Sichtscheibe rechts Eckdaten: Glas, Schauglas Maße (B/L/H) 95 mm x 450 mm x 4 mm Material Glas Form rechteckig hitzebeständig
Produktnummer: 01017179

65,40 €*¹

Sofort verfügbar, Lieferzeit: 2-4 Tage

Justus P50-5 Türdichtung Set A
Türdichtung Set A für den Kaminofen Justus P50-5 Es gibt verschiedene Türdichtungen für diesen Kaminofen. Bitte orientieren Sie sich an der Form Ihrer vorhandenen Dichtung. (Kordeldichtung oder Hohlkordeldichtung) 7-teiliges Set Justus P50-5 Türdichtung Eckdaten: Dichtband, Dichtschnur Kordeldichtung Länge 3m Durchmesser 10mm Kleber Eckdaten: 1 Stück Inhalt 17ml hitzebeständig Dichtungshülse Eckdaten: 1 Stück Durchmesser 10mm Dichtungsabbinder 4 Streifen
Produktnummer: 01018155

49,57 €*¹

Sofort verfügbar, Lieferzeit: 2-4 Tage

Justus P50-5 Scheibendichtung A
Scheibendichtung A für den Kaminofen Justus P50-5 Passend für Modelle mit einer Einpunktverriegelung (Tür schließt an einem Punkt am Korpus) Justus P50-5 Scheibendichtung Eckdaten: Dichtschnur, Ofenschnur Selbstklebende Dichtung Maße (B/H) 10 mm x 2 mm Länge 3,00 m selbstklebend
Produktnummer: 01018636

Inhalt: 3 Meter (11,74 €*¹ / 1 Meter)

35,21 €*¹

Sofort verfügbar, Lieferzeit: 2-4 Tage

Nur 6 auf Lager!
Justus P50-5 Feuerraumauskleidung A
Original Feuerraumauskleidung A für den Kaminofen Justus P50-5 Es gibt verschiedene Auskleidungen für den P50-5. Markantes Merkmal dieser Ausmauerung ist der Bodenstein vorne (135x65x30 mm) in Kombination mit dem Bodenstein links (90x270/135x30 mm) und der Zugumlenkung (180/352x148x25 mm) 10-teiliges Set Justus P50-5 Feuerraumauskleidung Eckdaten: Material Vermiculite Bodenstein vorne (135 x 65 x 30 mm), Bodenstein hinten (135 x 70 x 30 mm) Bodenstein links (90 x 270/135 x 30 mm), Bodenstein rechts (90 x 270/135 x 30 mm) Seitenstein links vorne (51 x 480/450 x 25 mm), Seitenstein links hinten (105 x 445/397 x 25 mm) Seitenstein rechts vorne (51 x 480/450 x 25 mm), Seitenstein rechts hinten (105 x 445/397 x 25 mm) 5-fach gelochter Rückwandstein (175/195 x 400 x 25 mm) Zugumlenkung (180/352 x 148 x 25 mm) Positionen 3.1, 3.2, 3.3, 3.4, 3.5, 3.7, 3.8 und 3.9 in der Explosionszeichnung
Produktnummer: 01019165

298,79 €*¹

Sofort verfügbar, Lieferzeit: 2-4 Tage

Justus P50-5 Bodenstein Set A
Original Bodenstein Set A für den Kaminofen Justus P50-5 Es gibt verschiedene Auskleidungen für den P50-5. Bitte orientieren Sie sich an den Maßen der Brennraumsteine. Markantes Merkmal der dazugehörigen Ausmauerung ist der Bodenstein vorne (135x65x30 mm) in Kombination mit dem Bodenstein links (90x270/135x30 mm) und der Zugumlenkung (180/352x148x25 mm) 4-teiliges Set Justus P50-5 Bodenstein Eckdaten: 4 Stück Bodenstein Set, liegende Brennraumsteine Set Material Vermiculite Bodenstein vorne (135 x 65 x 30 mm), Bodenstein hinten (135 x 70 x 30 mm) Bodenstein links (90 x 270/135 x 30 mm), Bodenstein rechts (90 x 270/135 x 30 mm) Positionen 3.7, 3.8 und 3.9 in der Explosionszeichnung
Produktnummer: 01021118

123,97 €*¹

Sofort verfügbar, Lieferzeit: 2-4 Tage

Nur 6 auf Lager!
Justus P50-5 Seitenstein Set A
Original Seitenstein Set A für den Kaminofen Justus P50-5 markantes Merkmal der dazugehörigen Ausmauerung ist der Bodenstein vorne (135x65x30 mm) in Kombination mit dem Bodenstein links (90x270/135x30 mm) und der Zugumlenkung (180/352x148x25 mm) 5-teiliges Set Justus P50-5 Seitenstein Eckdaten: 5 Stück Seitenstein Set, seitliche Brennraumsteine Set Material Vermiculite Seitenstein links vorne (51x480/450x25 mm), Seitenstein links hinten (105x445/397x25 mm) Seitenstein rechts vorne (51x480/450x25 mm), Seitenstein rechts hinten (105x445/397x25 mm) 5-fach gelochter Rückwandstein (175/195x400x25 mm) Positionen 3.1, 3.2, 3.3 und 3.4 in der Explosionszeichnung
Produktnummer: 01022595

194,29 €*¹

Sofort verfügbar, Lieferzeit: 2-4 Tage