Zum Hauptinhalt springen Zur Suche springen Zur Hauptnavigation springen
Kompetente Fachberatung
Lagernde Ware werktags innerhalb 24 Stunden versandbereit
Über 25.000 Artikel auf Lager
Originale Ersatzteile direkt vom Hersteller

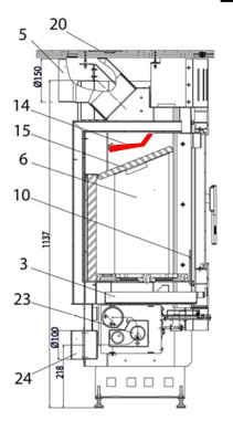
Haas+Sohn Askja 235.17 Zugumlenkung oben

Zugumlenkung /  Rauchgasumlenkung / Prallplatte / Rauchumlenkung / Umlenkung / Flammenschild

 

Produktinformationen "Haas+Sohn Askja 235.17 Zugumlenkung oben"

Original Zugumlenkung oben für den Kaminofen Haas-Sohn Askja 235.17

Haas-Sohn Askja 235.17 Zugumlenkung oben Eckdaten:

  • Rauchgasumlenkung, Umlenkung
  • Maße (B/L/H) 195 mm x 405 mm x 5 mm
  • Material Stahl
  • Position 14 in der Explosionszeichnung
Eigenschaften "Haas+Sohn Askja 235.17 Zugumlenkung oben"
Hersteller: Haas-Sohn
Material: Stahl
Typ: 235.17
Modell: Askja
Ersatzteilart: Zugumlenkung

EU-Verantwortlicher

Haas + Sohn Ofentechnik GmbH
Urstein Nord 67
5412 Puch
AT
info@haassohn.com

Ähnliche Artikel

Ausverkauft
Haas+Sohn Askja 235.17 Ascherost
Original Ascherost für den Kaminbausatz Haas-Sohn Askja 235.17 Der Hersteller hat die Produktion dieses Artikels eingestellt. Sofern wir über einen Restbestand verfügen, ist dieses Ersatzteil bei uns erhältlich Haas-Sohn Askja 235.17 Ascherost Eckdaten: Kaminrost, Brennraumrost Durchmesser 215 mm Material Guss
Produktnummer: 01000707

90,26 €*¹

nicht mehr verfügbar, Produktion eingestellt

Nur 1 auf Lager!
Haas+Sohn Askja 235.17 Sichtscheibe
Original Sichtscheibe für den Kaminofen Haas-Sohn Askja 235.17 Haas-Sohn Askja 235.17 Sichtscheibe Eckdaten: Türglas, Glas Maße (B/L/H) 350 mm x 475 mm x 4 mm Bogenlänge 360 mm hitzebeständig
Produktnummer: 01000721

599,84 €*¹

Sofort verfügbar, Lieferzeit: 2-4 Tage

Nur 9 auf Lager!
Haas+Sohn Askja 235.17 Scheibendichtung
Original Scheibendichtung für den Kaminofen Haas-Sohn Askja 235.17 Haas-Sohn Askja 235.17 Scheibendichtung Eckdaten: Glasdichtung, Dichtung Maße (B/H) 10 mm x 4 mm Länge 2,00 m selbstklebend
Produktnummer: 01016554

Inhalt: 2 Meter (12,75 €*¹ / 1 Meter)

25,49 €*¹

Sofort verfügbar, Lieferzeit: 2-4 Tage

Haas+Sohn Askja 235.17 Feuerraumauskleidung
Original Feuerraumauskleidung für den Kaminbausatz Haas-Sohn Askja 235.17 7-teiliges Set Haas-Sohn Askja 235.17 Feuerraumauskleidung Eckdaten: Brennraumauskleidung, Ofensteine
Produktnummer: 01020721

456,65 €*¹

Lieferzeit ca. 2-3 Wochen

Haas+Sohn Askja 235.17 Türdichtung
Original Türdichtung für den Kaminofen Haas-Sohn Askja 235.17 Für die Montage wird ein Kleber benötigt. Wir empfehlen Dichtungsabbinder, die das Ausfransen der Enden verhindern. Auch bieten wir eine Dichtungshülse, um die Enden optimal miteinander zu verbinden. Haas-Sohn Askja 235.17 Türdichtung Eckdaten: Türband, Ofenschnur Länge 3,00 m Durchmesser 12 mm
Produktnummer: 01044147

Inhalt: 3 Meter (33,02 €*¹ / 1 Meter)

99,07 €*¹

Sofort verfügbar, Lieferzeit: 2-4 Tage