Zum Hauptinhalt springen Zur Suche springen Zur Hauptnavigation springen
Kompetente Fachberatung
Lagernde Ware werktags innerhalb 24 Stunden versandbereit
Über 25.000 Artikel auf Lager
Originale Ersatzteile direkt vom Hersteller

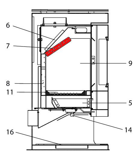
Wodtke KK 80-1 Zugumlenkung unten

Zugumlenkung /  Rauchgasumlenkung / Prallplatte / Rauchumlenkung / Umlenkung / Flammenschild

 

Produktinformationen "Wodtke KK 80-1 Zugumlenkung unten"

Original Zugumlenkung unten für den Kaminofen Wodtke KK 80-1

  • Der Hersteller hat die Produktion dieses Artikels eingestellt. Sofern wir über einen Restbestand verfügen, ist dieses Ersatzteil bei uns erhältlich

Wodtke KK 80-1 Zugumlenkung unten Eckdaten:

  • Rauchumlenkung, Flammenschild
  • Maße (B/L/H) 195/185 mm x 320/290 mm x 30 mm
  • Material Vermiculite
  • Position 7 in der Explosionszeichnung
Eigenschaften "Wodtke KK 80-1 Zugumlenkung unten"
Hersteller: Wodtke
Material: Vermiculite
Typ: 80-1
Modell: KK
Ersatzteilart: Zugumlenkung

EU-Verantwortlicher

wodtke GmbH
Rittweg 55 - 57
D-72070 Tübingen-Hirschau
DE
info@wodtke.com

Ähnliche Artikel

Nur 4 auf Lager!
Wodtke KK 80-1 Türdichtung
Türdichtung für den Kaminofen Wodtke KK 80-1 Wir empfehlen einen Kleber für die Montage, der durch punktuelles Auftragen, unterstützend wirken kann. Auch empfehlen wir Dichtungsabbinder, damit die Dichtschnur-Enden nicht ausfransen. Als optisches Highlight bieten wir ebenfalls Dichtungshülsen an. Wodtke KK 80-1 Türdichtung Eckdaten: Türband, Holzofenschnur Kordeldichtung Länge 3,00 m Durchmesser 10 mm
Produktnummer: 01035712

50,23 €*¹

Sofort verfügbar, Lieferzeit: 2-4 Tage

Ausverkauft
Wodtke KK 80-1 Ascherost
Original Ascherost für den Kaminofen Wodtke KK 80-1 Der Hersteller hat die Produktion dieses Artikels eingestellt. Sofern wir über einen Restbestand verfügen, ist dieses Ersatzteil bei uns erhältlich Wodtke KK 80-1 Ascherost Eckdaten: Rost, Kaminrost Maße (B/L/H) 190 mm x 85 mm x 5 mm Material Guss Form rechteckig Position 11 in der Explosionszeichnung
Produktnummer: 01037250

167,35 €*¹

nicht mehr verfügbar, Produktion eingestellt

Ausverkauft
Wodtke KK 80-1 Sichtscheibe
Original Sichtscheibe für den Kaminofen Wodtke KK 80-1 Der Hersteller hat die Produktion dieses Artikels eingestellt. Sofern wir über einen Restbestand verfügen, ist dieses Ersatzteil bei uns erhältlich Wodtke KK 80-1 Sichtscheibe Eckdaten: Ofenglas, Schauglas Material Glas hitzebeständig Position 2 in der Explosionszeichnung
Produktnummer: 01037930

387,45 €*¹

nicht mehr verfügbar, Produktion eingestellt

Wodtke KK 80-1 Scheibendichtung
Scheibendichtung für den Kamineinsatz Wodtke KK 80-1 Wodtke KK 80-1 Scheibendichtung Eckdaten: Dichtschnur, Glasband Flachdichtung Maße (B/H) 8 mm x 2 mm Länge 3,00 m selbstklebend
Produktnummer: 01039899

Inhalt: 3 Meter (10,58 €*¹ / 1 Meter)

31,74 €*¹

Sofort verfügbar, Lieferzeit: 2-4 Tage