Zum Hauptinhalt springen Zur Suche springen Zur Hauptnavigation springen
Kompetente Fachberatung
Lagernde Ware werktags innerhalb 24 Stunden versandbereit
Über 25.000 Artikel auf Lager
Originale Ersatzteile direkt vom Hersteller

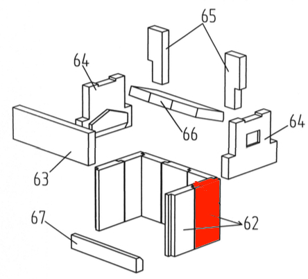
Wamsler KS 109-6 A Seitenstein rechts unten hinten

Seitenstein /  Brennraumstein / Feuerraumstein / Kaminofenstein / Brennofenstein / Ofenstein / Holzofenstein

 

Produktinformationen "Wamsler KS 109-6 A Seitenstein rechts unten hinten"

Original Seitenstein rechts unten hinten für den Werkstattofen Wamsler KS 109-6 A

Wamsler KS 109-6 A Seitenstein rechts unten hinten Eckdaten:

  • Brennraumstein, Holzofenstein
  • Schamottstein
  • Maße (B/L/H) 134 mm x 240 mm x 35 mm
  • Material Schamotte
  • Position 62 in der Explosionszeichnung
Eigenschaften "Wamsler KS 109-6 A Seitenstein rechts unten hinten"
Hersteller: Wamsler
Material: Schamotte
Typ: 109-6 A
Modell: KS
Ersatzteilart: Seitenstein

Hersteller

Wamsler


DE

Zubehör

Nur 10 auf Lager!
Kaminscheibenreiniger 500ml
Kaminscheibenreiniger Ein neuzeitlicher Herdputz mit unübertroffener Wirkung! Glasreiniger "Cerberus" Eckdaten: Inhalt 500 ml Voll biologisch abbaubar Entfernt einfach hartnäckige Schmutz und Ruß  Schnellwirkend Nicht brennbar 
Produktnummer: 01003799

Inhalt: 0.5 Liter (27,98 €* / 1 Liter)

13,99 €*

Sofort verfügbar, Lieferzeit: 2-4 Tage

Nur 5 auf Lager!
Höllenhunde Anzündhilfen 200
Höllenhunde Anzündhilfen 200 Cerberus "Höllenhunde" sind Anzündhilfen aus reinem Naturprodukt und ein perfekter Begleiter beim Anzünden Ihres Kaminofens oder Kamin. Höllenhunde Eckdaten: Inhalt 200 Stück Länge 50 bis 55 mm Durchmesser ca. 22 bis 30 mm Wachsanteil 40 bis 50 % Holzarten sind Fichte und Kiefer leichtes entzünden lange Brenndauer Herkunft aus Deutschland
Produktnummer: 01003904

Inhalt: 200 Stück (0,10 €* / 1 Stück)

20,99 €*

Sofort verfügbar, Lieferzeit: 2-4 Tage

Ähnliche Artikel

Nur 3 auf Lager!
Wamsler KS 109-6 A Ascherost
Original Ascherost für den Kaminofen Wamsler KS 109-6 A Passend für 6 KW Geräte Wamsler KS 109-6 A Ascherost Eckdaten: Gussrost, Feuerrost Durchmesser 187 mm Stärke 13 mm Material Guss Form rund Farbe schwarz Rostlager ist nicht enthalten Position 47 in der Explosionszeichnung
Produktnummer: 01010758

66,93 €*

Sofort verfügbar, Lieferzeit: 2-4 Tage

Nur 4 auf Lager!
Wamsler KS 109-6 A Zugumlenkung unten
Original Zugumlenkung unten für den Küchenherd Wamsler KS 109-6 A Wamsler KS 109-6 A Zugumlenkung unten Eckdaten: Rauchumlenkung, Umlenkung Schamottstein Maße (B/L/H) 346 mm x 170 mm x 35 mm Material Schamotte Position 66 in der Explosionszeichnung
Produktnummer: 01012730

26,84 €*

Sofort verfügbar, Lieferzeit: 2-4 Tage