Zum Hauptinhalt springen Zur Suche springen Zur Hauptnavigation springen
Kompetente Fachberatung
Lagernde Ware werktags innerhalb 24 Stunden versandbereit
Über 25.000 Artikel auf Lager
Originale Ersatzteile direkt vom Hersteller

Lotus M1 Seitenstein links hinten A

Seitenstein /  Brennraumstein / Feuerraumstein / Kaminofenstein / Brennofenstein / Ofenstein / Holzofenstein

 

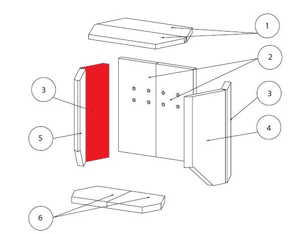
Produktinformationen "Lotus M1 Seitenstein links hinten A"

Original Seitenstein links hinten A für den Lotus M1

  • Der Hersteller hat die Produktion dieses Artikels eingestellt. Sofern wir über einen Restbestand verfügen, ist dieses Ersatzteil bei uns erhältlich
  • nur für die M Modelle bis Baujahr 07/2006

Lotus M1 Seitenstein links hinten Eckdaten:

  • Brennofenstein, Ofenstein
  • Maße (B/L/H) 120 mm x 400 mm x 25 mm
  • Material Schamotte
  • Position 3 in der Explosionszeichnung
Eigenschaften "Lotus M1 Seitenstein links hinten A"
Hersteller: Lotus
Material: Schamotte
Modell: M1
Ersatzteilart: Seitenstein

EU-Verantwortlicher

Lotus Heating Systems A/S ©
Agertoften 6
5550 Langeskov
DK
info@lotusstoves.com

Ähnliche Artikel

Lotus M1 Zugumlenkung vorne A
Original Zugumlenkung vorne A für den Lotus M1 Nur für die M Modelle bis Baujahr 07/2006 Lotus M1 Zugumlenkung vorne Eckdaten: Prallplatte, Rauchumlenkung Maße (B/L/H) 160 mm x 430 mm x 20 mm Material Vermiculite Position 1 in der Explosionszeichnung
Produktnummer: 01005499

94,61 €*¹

Sofort verfügbar, Lieferzeit: 2-4 Tage

Ausverkauft
Lotus M1 Feuerraumauskleidung A
Original Feuerraumauskleidung A für den Kaminofen Lotus M1 Der Hersteller hat die Produktion dieses Artikels eingestellt. Sofern wir über einen Restbestand verfügen, ist dieses Ersatzteil bei uns erhältlich nur für die M Modelle bis Baujahr 07/2006 10-teiliges Set Lotus M1 Feuerraumauskleidung Eckdaten: 10 Stück Feuerraumauskleidung, Brennraumsteine Material Vermiculite Zugumlenkung vorne (320/430 x 160 x 20 mm) Zugumlenkung hinten (320/430 x 160 x 20 mm) Material Schamotte Rückwandstein links gelocht (400 x 180 x 25 mm), Rückwandstein rechts gelocht (400 x 180 x 25 mm) Seitenstein links hinten (400 x 120 x 25 mm), Seitenstein rechts hinten (400 x 120 x 25 mm) Seitenstein links vorne (303/399 x 200 x 27 mm), Seitenstein rechts vorne (303/399 x 200 x 27 mm) Bodenstein links (200 x 170/203 x 25 mm), Bodenstein rechts (200 x 170/203 x 25 mm)
Produktnummer: 01027923

551,00 €*¹

nicht mehr verfügbar, Produktion eingestellt