Zum Hauptinhalt springen Zur Suche springen Zur Hauptnavigation springen
Kompetente Fachberatung
Lagernde Ware werktags innerhalb 24 Stunden versandbereit
Über 25.000 Artikel auf Lager
Originale Ersatzteile direkt vom Hersteller

Justus Bavaria Bodenstein rechts A

Bodenstein /  Brennraumstein / Feuerraumstein

 

Produktinformationen "Justus Bavaria Bodenstein rechts A"

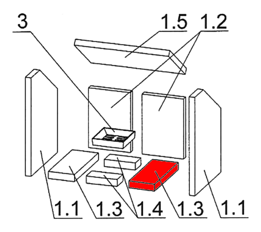
Original Bodenstein rechts A für den Kaminofen Justus Bavaria Typ 4634-7

  • Es gibt verschiedene Ausmauerungen für dieses Modell. Bitte orientieren Sie sich am Baujahr des Ofens oder an den Maßen vom Rückwandstein links
  • Erfahrungsgemäß wurde dieser Feuerraumstein bis 12/2002 verbaut und passt zum Rückwandstein links (182 x 255 mm).

Justus Bavaria Typ 4634-7 Bodenstein rechts Eckdaten:

  • Brennraumstein, Feuerraumstein
  • Maße (B/L/H) 110 mm x 275 mm x 30 mm
  • Material Vermiculite
  • Position 1.3 in der Explosionszeichnung
Eigenschaften "Justus Bavaria Bodenstein rechts A"
Hersteller: Justus
Material: Vermiculite
Typ 2: Typ 4634-7
Modell: Bavaria
Ersatzteilart: Bodenstein

EU-Verantwortlicher

Justus GmbH
Sechsheldener Straße 122
35708 Haiger-Sechshelden
DE
info@justus.de

Ähnliche Artikel

Justus Bavaria Sichtscheibe A
Original Sichtscheibe A für den Kaminofen Justus Bavaria Es gibt verschiedene Sichtscheiben für den Bavaria. Bitte orientieren Sie sich an den Maßen der Glasscheibe. Justus Bavaria Sichtscheibe Eckdaten: Glasscheibe, Scheibe Maße (B/L/H) 350 mm x 410 mm x 4 mm Material Glas Form rechteckig hitzebeständig Position 14 in der Explosionszeichnung
Produktnummer: 01000340

256,00 €*

Lieferzeit ca. 2-3 Wochen

Nur 4 auf Lager!
Justus Bavaria Zugumlenkung A
Original Zugumlenkung A für den Kaminofen Justus Bavaria Es gibt verschiedene Ausmauerungen für dieses Modell. Bitte orientieren Sie sich am Baujahr des Ofens oder an den Maßen vom Rückwandstein links Erfahrungsgemäß wurde dieser Feuerraumstein bis 12/2002 verbaut und passt zum Rückwandstein links (182 x 255 mm). Justus Bavaria Zugumlenkung Eckdaten: Rauchumlenkung, Flammenschild Maße (B/L/H) 410 mm x 240 mm x 25 mm Material Vermiculite Position 1.5 in der Explosionszeichnung
Produktnummer: 01000344

54,36 €*

Sofort verfügbar, Lieferzeit: 2-4 Tage

Justus Bavaria Ascherost
Original Ascherost für den Kaminofen Justus Bavaria Justus Bavaria Ascherost Eckdaten: Kaminrost, Holzofenrost Maße (B/L/H) 135 mm x 135 mm x 30 mm Material Guss
Produktnummer: 01016587

65,23 €*

Sofort verfügbar, Lieferzeit: 2-4 Tage

Nur 1 auf Lager!
Justus Bavaria Türdichtung Set
Türdichtung Set für den Kaminofen Justus Bavaria 5-teiliges Set Justus Bavaria Türdichtung Eckdaten: Dichtband, Dichtschnur Kordeldichtung Länge 2m Durchmesser 10mm Kleber Eckdaten: 1 Stück Inhalt 17ml hitzebeständig Dichtungshülse Eckdaten: 1 Stück Durchmesser 10mm Dichtungsabbinder 2 Streifen
Produktnummer: 01018344

49,57 €*

Sofort verfügbar, Lieferzeit: 2-4 Tage